引言
玩具是孩童成长不可或缺的玩伴,随着社会发展及消费者需求的不断变化,玩具类型更多地从传统玩具向电玩具发展。电玩具一般会使用干电池(非纽扣电池)及纽扣电池,其中纽扣电池具有体积较小,电性能良好等优势。玩具产品经常会使用纽扣电池来触发一些简单的灯光功能,比如毛绒玩具、玩具车、游戏机、悠悠球及音乐书等。
什么是纽扣电池
纽扣电池是一类高度小于直径的扁平小型圆形单电池的统称。按电化学类型可分为非锂电纽扣电池(Button cells,比如LR44碱性纽扣电池)和锂电硬币电池(Coin Cells,比如CR2032锂锰纽扣电池)。
纽扣电池的尺寸很小,直径最大不过32毫米,厚度从1毫米到11毫米不等。比如举例中的LR44纽扣电池的直径为11.6毫米,厚5.4毫米;CR2032锂锰硬币电池的直径为20毫米,厚3.2毫米。广泛应用于各类消费品和家用产品中,比如玩具、钟表、计算器、汽车钥匙、相机、电子秤及音乐贺卡等。
纽扣电池的危险
虽然纽扣电池的应用如此广泛,但这类电池对于幼童特别是5岁以下的儿童来说,却具有严重甚至致命的危险。因为儿童食道较窄,而且更容易出现将小物体放入他们的嘴、耳朵和鼻子的情况。
由于尺寸较小,纽扣电池很容易就被吞入儿童食道,或被置入身体的其他部位。除了卡在喉咙有可能引发窒息危险外,停留在体内的纽扣电池由于接触唾液或其他体液而立即触发电流,从而引起化学反应,最终可导致儿童的食道、内脏或其他重要器官被严重灼伤。置入体内的纽扣电池最短在2小时内就可能导致严重伤害,甚至危及生命。此外,一旦身体器官被灼伤,即使将电池及时从体内取出,对身体的损伤可能也不会立刻停止,而需要持续多年的手术和治疗。
在国内及世界各地,已经发生了很多因为儿童不慎置入或吞入纽扣电池导致身体严重伤害甚至死亡的案例发生。国内曾有新闻报道,一名3岁儿童将纽扣电池塞入鼻腔长达3天,因为强腐蚀电池液泄露导致鼻腔粘膜被严重灼伤;另一名4岁儿童的眼睛里被发现有纽扣电池,取出时电池已经腐蚀且脱落碎片。
此外,英国一名2岁儿童在吞入遥控器脱落的纽扣电池后不幸死亡。澳大利亚公平竞争和消费者委员会(ACCC)的数据显示,在澳大利亚,平均一个月就有一个小孩因为吞入或置入纽扣电池遭受严重伤害,有些伤害甚至会影响终身。
各国玩具标准的管控要求
鉴于纽扣电池存在的风险,各国玩具标准中的纽扣电池也有相关的标准要求管控。
中国GB 19865-2005《电玩具的安全》标准
标准中要求,不借助工具时,钮扣电池和R1电池应是不可触及的,除非电池室的盖只有在同时施加至少两个独立的动作时才能打开。此外,预期给三岁以下儿童使用的玩具的电池,不借助工具应不可取下,除非电池室的盖的防护是足够的。
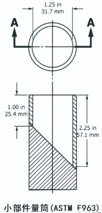
美国 ASTM F963-17 玩具安全标准
标准中要求,对于能完全放入如右图所示小部件量筒的电池(比如直径小于31.7毫米的纽扣电池),在按标准规定的一系列滥用测试(比如跌落、扭力、拉力、压力测试等等)前后,在不使用硬币、螺丝刀或其他工具的条件下,电池应是不可触及的;同时,所有预期给三岁以下儿童使用的电池,在按标准规定的一系列滥用测试前后,都应是不可触及的。

IEC 62115: 2017,欧盟EN IEC 62115: 2020+A11和澳大利亚AS/NZS 62115: 2018 电玩具安全标准
标准中要求,对于能完全放入小部件量筒的电池或者包含电池的部件,在标准规定的滥用测试前后,如果不使用工具,电池应是不可触及或取下的;对于其他电池,不借助工具应不可取下,除非电池室的盖的防护是足够的。
此外,上述标准中针对包装和说明书也有相关的警告标识和风险说明等类似的要求,主要是提醒家长和监护人注意玩具产品含有纽扣电池。一旦吞入,在最短两小时内就可能造成体内化学灼伤,严重时导致死亡;废旧电池需要立即处理,新的和使用过的电池都放在远离儿童的地方;如果怀疑电池可能被儿童吞下或置入身体的任何部位,必须立即寻求医疗帮助。
澳大利亚新消费产品标准
2020年12月22日,澳大利亚政府正式生效新消费产品标准对纽扣电池的管控,包含4个强制标准来减少因使用纽扣/硬币电池造成的伤亡风险。强制性标准包括18个月过渡期,从2022年6月22日开始,供应商必须符合这些标准要求。

相关动态
解决方案